一个简洁的48V幻象电源电路
48V幻象电源是很多有源专业话筒的电源。这里分享的是一个简洁的48V幻象电源电路,适用于除了电子管之外的大部分专业话筒。
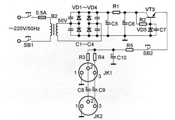
具体电路图如下所示:

这个电路的变压器输出是交流50V,通常市面上难以找到这个数值的成品。可以选择十几瓦的小型环形变压器进行改制。选择环形的变压器而不是EI或者EE型的,是因为环形变压器的改制手工制作较为容易。
此外,VD5是48V的稳压二极管,这个参数相对较难购买。不过,可以通过串联稳压二极管来搭配,只需确保稳压值在48V附近即可。
卡农插座JK1用于与话筒连接,JK2用于与话放连接,都是平衡信号。
C8和C9是隔直电容,其作用是避免48V电压施加到话放的输入端。
如果你有一台话放,但没有幻象电源,使用这个简单的电路就可以制作一个48V的幻象电源,从而兼容更多专业话筒。
电路中的原件参数如下表所示:

免责声明: 本文借鉴原创改编,版权归原作者所有,本文所用图片、文字如涉及作品版权,请第一时间联系我们删除。
原文链接:https://www.elecfans.com/dianlutu/dianyuandianlu/202004111201228.html
支持